Logo UltraSPARC Driven

Microprocesador UltraSPARC-IIi


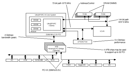
  • Sistema

El UltraSPARC-IIi reside en un módulo con el caché L2 y lógica para generar la CPU, PCI, y los relojes UPA64S. En este aspecto, el módulo esta insertado en la tarjeta madre del sistema. El uso de módulos permite fáciles upgrades para procesadores más rápidos que estén disponibles.

La figura muestra un ejemplo de un sistema basado en el UltraSPARC-IIi. Este sistema incluye un chip APB (Puente PCI Avanzado), el cual se diseño concurrentemente con el proyecto UltraSPARC-IIi.

Los bus de 32 bits/66 MHz/3.3 V conecta directamente tanto al bus PCI físico como al UltraSPARC-IIi. El APB también tiene dos buses PCI secundarios completamente independientes, los cuales son de 32 bits/33 MHz y 5 V/3.3V. Cada uno de estos bus secundarios pueden soportar hasta cuatro PCI maestros.


Anterior Inicio Siguiente